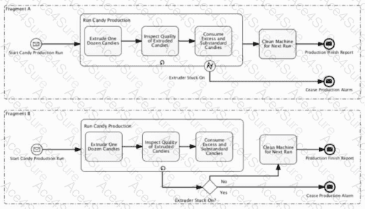
InFragment A,Run Candy Productionis a subprocess with aboundary eventlabeledExtruder Stuck Onattached to it.
According to BPMN 2.0:
A boundary event attached directly to an activity/subprocess is evaluatedwhile that activity is executing.
When it triggers (here, when the “Extruder Stuck On” condition occurs), itinterruptsthe subprocess (for an interrupting boundary event) and the normal internal flow stops. Control is redirected along the boundary-event’s outgoing sequence flow (toward the alarm/handling path).
So, in Fragment A, the first time the extruder gets stuck during the execution ofRun Candy Production, that subprocess is interrupted and the alternate flow (e.g., cease production alarm, possibly skipping remaining steps inside the subprocess) is taken.
InFragment B, the “Extruder Stuck On?” is modeled as anExclusive Gatewayafter the internal tasks (afterConsume Excess and Substandard Candies). That means:
The condition ischecked only when the token reaches that gateway, i.e., after finishing the last internal task.
If “Yes”, we follow the alarm/cease path; if “No”, we continue to the normal completion/cleaning path.
This is exactly what optionDstates.
Options A and C say the fragments have the same or inverted behavior, which contradicts the execution semantics of boundary events vs. gateways.
Option B incorrectly assumes the boundary event is specifically an Error Event and misstates the validity of Fragment A. The fragment is valid BPMN; the key difference iswhen and howthe stuck-extruder condition is handled, captured correctly only by optionD.